وقد أبل تعمل على نوع من السيارات ذاتية الحكم لفترة من الوقت الآن. وقد ظهر هذا النظام - الذي يبدو أنه إضافة إلى المركبات الموجودة - في ورقة بحثية في تشرين الثاني / نوفمبر. ظهرت المزيد من الخطط في عرض قدمه أستاذ كارنيجي ميلون لروسلان سالاخوتدينوف هذا الشهر. الآن، وفقا لبراءة اكتشفها أوتوبلوغ ، وقد تم نشر التطبيق أبل 2015 لنظام الملاحة الذاتية.
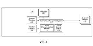
يصف ملخص براءة الاختراع نظام الملاحة المستقل الذي يخلق "توصيف" مسار القيادة. يتم إنشاء هذا المسار عند التنقل بين السائقين يدويا على طول المسار. مرة واحدة وقد تم توجيه هذا الطريق يدويا عدة مرات لتلبية "مؤشر الثقة"، ثم السيارة يمكن أن تدفع هذا الطريق في حد ذاته. يمكن تحديث التوصيفات مع حدوث تغييرات في المسار، ويمكن أن تشمل قواعد القيادة الخاصة على أساس "مراقبة الملاحة من واحد أو أكثر من المركبات من الطريق." وهناك أيضا ذكر نوع من قاعدة البيانات عن بعد من الطرق التي يمكن للسيارات تحميل الطرق إلى وتحميل الطرق من، والذي يبدو قليلا مثل امتداد خرائط أبل.
في حين أن هذا الطلب البراءة هو بضع سنوات من العمر ويصف ببساطة نظام المنطق الذي أراد أبل لاستخدامها لإبلاغ القيادة الذاتية، انها نهج مثير للاهتمام. استخدام البيانات القيادة من العديد من السائقين يمكن أن تساعد على الأرجح نظام أبل تعلم الطرق بشكل أسرع وأكثر دقة من سيارة واحدة مع أجهزة الاستشعار وحدها. ومن المرجح أيضا أن مثل هذا النظام سوف تحتاج إلى العمل جنبا إلى جنب مع أجهزة الاستشعار القائمة على السيارة كذلك.
